KRĄŻNIKI DO PRZENOŚNIKÓW
Stalowe, z tworzywa sztucznego
- kwasoodporność
- zasadoodporność
- antystatyczność (można używać ich w otoczeniu zapylonym,w którym iskrzenie grozi wybuchem)
- świetnie sprawdzają się w niekorzystnych warunkach zewnętrznych
- nie ulegają korozji w wilgotnym środowisku
- cicha praca
- niski współczynnik tarcia
- nie uszkadzają taśmy transporterowej
- obniżają koszt eksploatacji urządzeń transportu ciągłego
- znacznie zmniejszają całkowitą masę urządzenia.
Ponadto wykonujemy:
- rolki odciskowe
- rolki wstrząsowe
- krążniki/rolki kierunkowe
- krążniki z osią gwintowaną
Aby nasze krążniki zawsze były najlepiej dostosowane do potrzeb klienta produkujemy krążniki w kilku standardach wykonania. Produkujemy krążniki o wykonaniu standardowym i wzmocnione, spełniające wymagania krajowe oraz przeznaczone na eksport.
Dysponując nowoczesnym parkiem maszynowym jesteśmy w stanie wykonać krążniki niestandardowe wg. wymagań klienta.
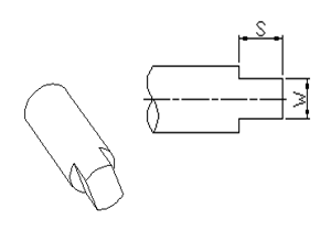
Zafrezowania do krążników
- Typ 2 jako standard, typy 1/3/4 jako opcjonalne wykonanie zafrezowania.
| Typ 1 | Typ 2 |
|---|---|
![]() |
![]() |
| Typ 3 | Typ 4 |
![]() |
![]() |
Krążniki zaciskowe z uszczelnieniem labiryntowym - stalowe oraz z tworzywa sztucznego

| Krążniki stalowe oraz z tworzywa sztucznego - gładkie | ||||||
|---|---|---|---|---|---|---|
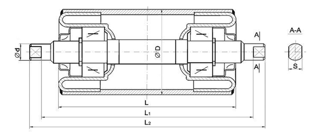
| Długość płaszcza L (mm) | L1 | L2 | a | S (mm) | Średnica osi Ød (mm) | |
| Ø 63,5 | od 160 do 1150 | od 168 do 1158 | od 186 do 1188 | 9, 15 | 14 (15) |
20 |
| Ø 89 | od 160 do 1800 | od 168 do 1808 | od 86 do 1838 | 9, 15 | 14 (15) |
20 |
| Ø 108 | od 160 do 2000 | od 168 do 2008 | od 186 do 2038 | 15 | 14 (15) |
20 |
| Ø 133 | od 250 do 2000 | od 258 do 2008 | od 276 do 2038 | 9,15 | 14 (15) |
20, 25 30 |
| Ø 159 | od 315 do 2000 | od 323 do 2008 | od 347 do 2048 | 12, 20 | 22 | 25, 30 |
Krążniki tarczowe

| Krążniki tarczowe | ||||||
|---|---|---|---|---|---|---|
| Długość płaszcza L (mm) | L1 | L2 | a | S (mm) | Średnica osi Ød (mm) | |
| Ø 108 | od 160 do 2000 | od 168 do 2008 | od 198 do 2038 | 15 | 14 (15) |
20 |
| Ø 133 | od 250 do 2000 | od 258 do 2008 | od 288 do 2048 | 15, 20 |
14 (15) |
20 |
Krążniki pierścieniowe

| Krążniki pierścieniowe | ||||||
|---|---|---|---|---|---|---|
| Długość płaszcza L (mm) | L1 | L2 | a | S (mm) | Średnica osi Ød (mm) | |
| Ø 108 | od 160 do 2000 | od 168 do 2008 | od 186 do 2026 | 9 | 14 (15) |
20 |
| Ø 133 | od 250 do 2000 | od 258 do 2008 | od 276 do 2026 | 9 | 14 (15) |
20 |
| Ø 159 | od 315 do 2000 | od 323 do 2008 | od 347 do 2032 | 12 | 22 | 30 |
Krążniki gładkie girlandowe

| Krążniki gładkie girlandowe | ||||
|---|---|---|---|---|
| Długość płaszcza L (mm) | L1 | L2 | Średnica osi Ød (mm) | |
| Ø 89 | od 160 do 1600 | od 190 do 1630 | od 210 do 1650 | 20 |
| Ø 108 | od 160 do 1600 | od 190 do 1630 | od 210 do 1650 | 20 |
| Ø 133 | od 160 do 1600 | od 190 do 1630 | od 210 do 1650 | 20 |
| Ø 159 | od 315 do 1600 | od 365 do 1650 | od 395 do 1680 | 30 |
Krążniki odciskowe

| Krążniki odciskowe | ||||||
|---|---|---|---|---|---|---|
| Długość płaszcza L (mm) | L1 | L2 | a | Rura gr. | Średnica osi Ød (mm) | |
| Ø 133 | od 700 do 1400 | od 712 do 1458 | od 764 do 1510 | 26 | 4 | 20 |
| Ø 133 | od 850 do 1400 | od 908 do 1458 | od 960 do 1510 | 26 | 10 | 20 |
Krążniki kierunkowe

| Krążniki kierunkowe | ||||
|---|---|---|---|---|
| Długość płaszcza L (mm) | L1 | Rura gr. | Średnica osi Ød (mm) | |
| Ø 63,5 | od 100 do 215 | od 150 do 265 | 3,2 | 20/25/30 |
| Ø 89 | od 100 do 215 | od 150 do 265 | 3,6 | 20/25/30 |
| Ø 108 | od 100 do 215 | od 150 do 265 | 4 | 20/25/30 |
Formularz zapytania
Jesteś zainteresowany tym produktem lub usługą? Napisz do nas. Wkrótce skontaktujemy się z Tobą.
Zapytaj o produktWysyłając formularz akceptujesz zasady polityki prywatności serwisu www.pakgum.pl
Informacje zawarte w formularzu będą wykorzystywane przez naszą firmę wyłącznie w celach współpracy.
|
KRĄŻNIKI STALOWE
|
![]() |
| KRĄŻNIKI Z TWORZYWA SZTUCZNEGO | |
| KRĄŻNIKI TARCZOWE | ![]() |
| KRĄŻNIKI PIERŚCIENIOWE | |
| ZESTAWY WISZĄCE - GIRLANDOWE | |
| KRĄŻNIKI KIERUNKOWE | |
| KRĄŻNIKI WG. INDYWIDUALNEGO PROJEKTU | |
| WSRPONIKI KRĄŻNIKÓW |
wróć do góry^







